Mercedes Reveals the Strategy Behind Its New Straight-Six, V8, and V12 Engines
This Engine Technology Is Unlike Anything Seen Before.

Mercedes-Benz has already confirmed plans to develop new gasoline engines as the industry’s shift to electric vehicles progresses more slowly than expected. Now, a recently uncovered patent spotted by Harja.Tn sheds new light on the brand’s upcoming engine family. The design appears exceptionally versatile—arguably the most adaptable powertrain concept since Volkswagen’s ambitious W-engine experiments two decades ago. According to the patent, the architecture could support inline four- and six-cylinder layouts, as well as entirely new V8 and V12 configurations.
Like a Megazord in Your Engine
With every new engine—especially from a luxury automaker—the objective is clear: more power, stronger performance, and greater efficiency from every drop of fuel. Mercedes-Benz’s latest engine concept aims to advance all three, and its innovative design suggests the brand has developed a unique piece of technology that could help make those gains a reality.
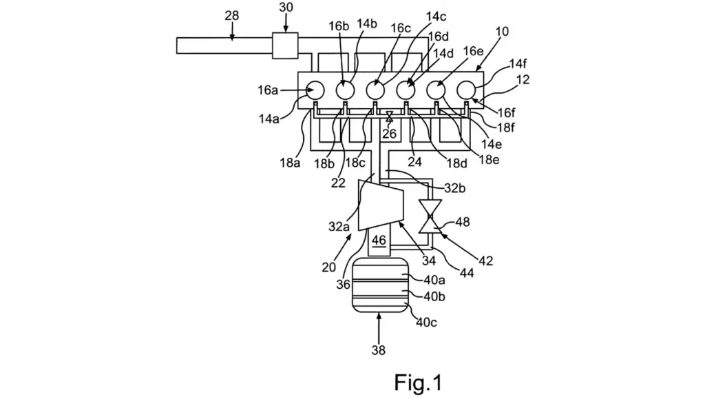
The key innovation is an additional exhaust path for each cylinder. In the inline-six diagram provided by Mercedes-Benz, the first three cylinders are grouped together, while the remaining three form a second group. A valve links these two sections, allowing the flow between them to open or close as needed. Although the patent illustrations depict this setup as external piping, the system would actually be integrated as an internal channel within the cylinder head.
Mercedes-Benz explains that opening the valve to allow all cylinders to share a common exhaust gas volume can reduce pumping losses and boost horsepower at higher engine speeds. According to the patent, the benefit comes from the way this connection alters exhaust pressure pulses within the ports, helping optimize flow under high-RPM conditions.
In simple terms, a small portion of exhaust gas from certain cylinders is used to help push exhaust out of another cylinder when its exhaust valves are open. This interaction improves scavenging and helps the engine produce more power. The exhaust flow has no external outlet in this process, circulating only within the engine itself.
Does this sound like a potential recipe for clogged passages in the cylinder head due to dirty exhaust gases, carbon deposits, and oil buildup? Possibly—but that’s a problem for Mercedes-Benz’s engineers to solve and for its warranty actuaries to calculate.
Mercedes-Benz Is Talking V12s Again
What’s particularly intriguing is that Mercedes-Benz envisions this technology being applied across multiple engine types—the inline-four, inline-six, and, importantly, the V8 and V12. Would the company have mentioned it if a V12 weren’t in the cards? Maybe, but probably not. After all, Mercedes has already confirmed that the S-Class will continue to offer a V12 for the foreseeable future (see related story above).
Premium luxury car buyers often prefer engines with as many cylinders as possible. More cylinders mean smoother operation, and the badge itself adds prestige—just ask Rolls-Royce, which continues to build V12s because, for some models, anything less simply wouldn’t suffice.
Of course, this new engine is turbocharged. Even today, V12s rely on turbos to maximize both efficiency and power, capturing energy from the exhaust and redirecting it to boost horsepower.
The engine detailed in this patent is not the same as the flat-plane crank V8 Mercedes-Benz patented earlier this year. That earlier design was explicitly limited to a V8 configuration. More importantly, this new patent specifies that the exhaust channels operate with a 120-degree crankshaft interval—unlike the 180-degree spacing used in a flat-plane crank.
Mercedes-Benz has confirmed that it is developing a next-generation V8 for its AMG lineup. The company has also announced increased R&D investment in other combustion engines across its range. Hopefully, at least one of those efforts will result in a new S-Class featuring a brand-new V12 under the hood.
























