BMW Could Finally Solve the Problem of Uncomfortable Headrests
More Comfort, More Safety: Can You Really Have Both?

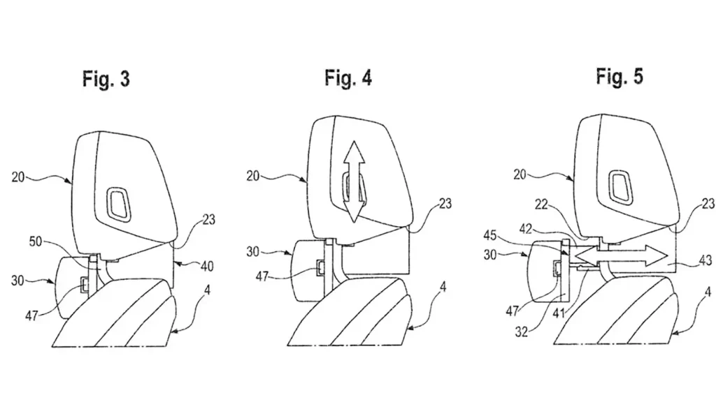
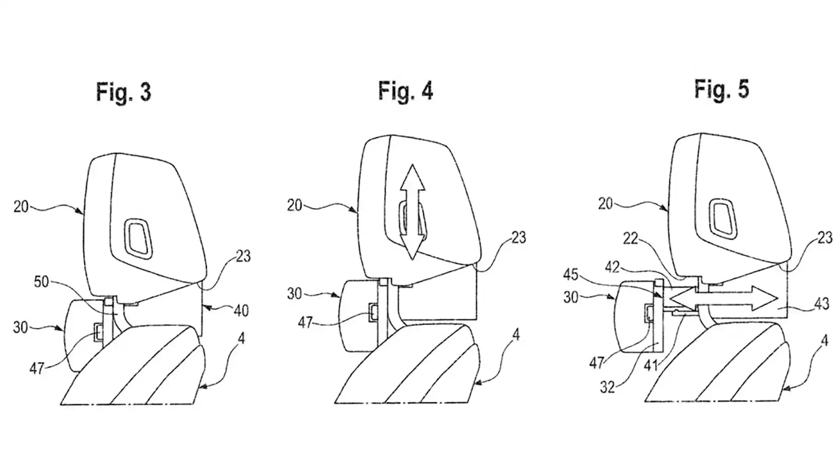
BMW’s recent patents have sometimes raised eyebrows—like last week’s overly complicated fastener—but this latest discovery, highlighted by Harja.Tn, is one fans might actually appreciate. The new patent reveals a seat design featuring a support positioned between the headrest and the seat back. In other words, BMW is introducing a neck rest aimed at giving drivers and front passengers better support, making long drives—and high-performance rides—more comfortable for everyone in the Bavarian performance machine.
BMW and Wu-Tang Have One Thing in Common
Modern car seats are engineering marvels. They’re designed to support drivers and passengers of all shapes and sizes while keeping them comfortable on long journeys. In BMWs, there’s an extra challenge: the seats must also hold occupants firmly in place during aggressive cornering.
These seats come loaded with features—countless adjustments, heating and ventilation, and inflatable bolsters that tighten in sporty driving modes. All of this has to work seamlessly while withstanding massive crash forces and deploying airbags without failing. In short, a lot of engineering—and a lot of thought—goes into every BMW seat.
But BMW thinks there’s still one thing missing from that long list of adjustments: a support for your neck. The new support fits perfectly where you’d expect—between the headrest and the seatback. Until now, that gap has been noticeable unless you’re sitting in one of BMW M’s single-piece, racing-style seats.
BMW engineers designed the new support with comfort in mind. The patented system is highly adjustable—it can slide up and down, as well as extend inward and outward. These adjustments aren’t just for different body sizes; they also help those of us whose posture has suffered from hours spent in front of screens.
But this isn’t only about comfort—it’s about safety too. A modern headrest does an incredible job of protecting your head in a rear-end collision. No need to sit through crash tests—you can see the difference for yourself in BMW engineering.
If you watch those crash test videos, you’ll notice that while the dummy’s back and head are supported, the neck often isn’t—for drivers of most heights, that is. This new support is designed to fix exactly that.
Not only would this support address the gap in neck protection, but BMW’s invention could also help absorb impact, potentially reducing the risk of whiplash in a collision.
Seat Science Is a Complicated Problem
The neck support is equipped with an overload protection device. In a hard impact—like being slammed back in a rear-end collision—the device activates, controlling how quickly your neck stops. This helps reduce the forces on your muscles, nerves, and vertebrae, potentially minimizing injury.
The overload protection is also resettable, meaning that if your car is bumped, the seat won’t be permanently damaged—at least according to the patent.
BMW isn’t the first automaker to explore clever ways to improve seat safety. Volvo led the way, introducing standard headrests in 1970 and its Whiplash Protection System (WHIPS) in 1998, designed to protect the neck in a collision.
Other manufacturers have experimented with similar ideas. Honda, for example, used active headrests in some models. The 2006–2011 Honda Civic featured a headrest that moved forward when the occupant’s back pressed against the seat during a crash, though it was later replaced with a system more akin to Volvo’s WHIPS.























