Lamborghini Develops Enhanced Drag Reduction for Next-Gen Supercars
“A surprisingly straightforward approach is helping Lamborghini enhance its cars’ performance.”
Lamborghini’s engineers are developing a new drag reduction system—but true to the brand, it’s far from a simple flip of a wing like the DRS found on Ferrari, McLaren, or Formula 1 cars. This next-generation setup is as intricate as it gets, incorporating advanced mechanisms—and even magnets—to push aerodynamic performance to the limit.
More Speed and Sharper Handling in a Single Package
Drag reduction helps strike the perfect balance between handling, stability, and top speed. A fixed wing is always a compromise: it boosts downforce for better cornering but comes at the cost of reduced top speed.
A Drag Reduction System, or DRS, is best known from Formula 1, but the concept applies to most adjustable wing systems. The wing can change its angle on demand, cutting downforce to boost top speed. The trade-off is reduced cornering grip, so the system is typically used on straightaways and deactivated just before entering a turn.
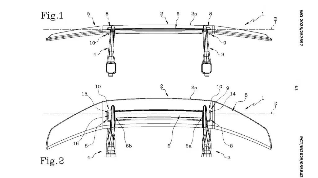
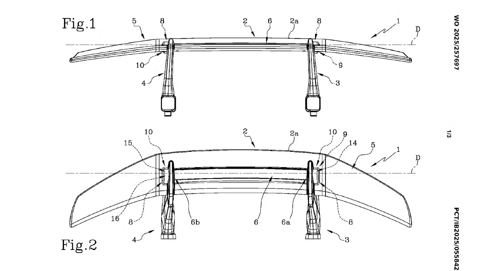
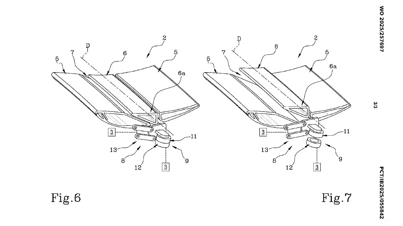
Unlike conventional designs with a single moving element—or multiple elements that move in unison—Lamborghini’s wing features two independent components. The first resembles a standard wing in appearance and function.
The second element is housed in a slot within the main wing—and it’s this component that actually moves. While it has at least two preset positions, Lamborghini indicates it could operate anywhere between its minimum and maximum settings.
Because this movable piece sits inside the main wing, its motion creates a gap in the wing’s surface. Air flows through this gap rather than around it, disrupting the usual high- and low-pressure zones that give a wing its downforce.
Magnets Simplify the Design
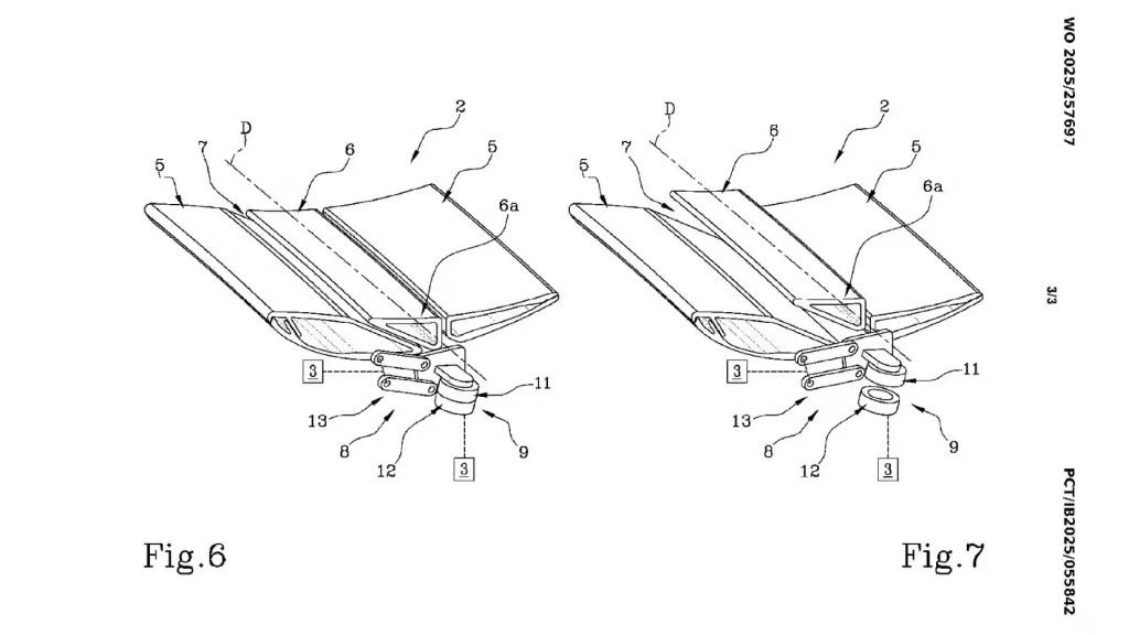
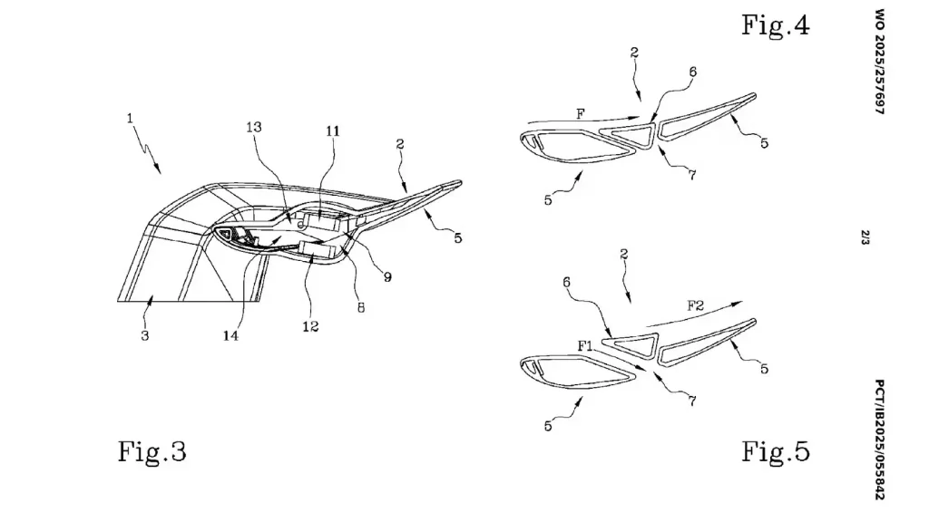
Despite its intricate appearance, Lamborghini’s system avoids the complexity of motors or linear actuators. Instead, an electromagnet on the main wing interacts with a permanent magnet on the movable element, allowing the wing to open and close using only magnetic force. Patent drawings illustrate the effect: in figure 4, the wing functions normally, generating downforce, while in figure 5, the DRS is activated and the wing’s aerodynamic effect is reduced.
According to Lamborghini, this design allows the DRS wing to be smaller and lighter, making it easier to mount on the car. It also improves efficiency and enables the use of DRS on a larger wing with bigger endplates—something that would be difficult with conventional systems.
A massive wing has been a Lamborghini hallmark since the 1970s. This new design stays true to that legacy, giving the cars a more aggressive look while delivering even more extreme performance.
Lamborghini could even incorporate multiple movable segments, dividing the wing into separate zones. This would allow the driver to activate just one segment for high-speed corners—like Eau Rouge at Spa—or deploy the entire wing for maximum top-speed runs.
The man-made wing has been around for nearly 150 years, yet engineers continue to find innovative ways to improve it. If only they’d show the same luck with reinventing the wheel—it never quite turns out as planned.























